찾으시는 답변이 없으시다면 1:1 문의를 이용해주세요

1:1 문의
75개의 FAQ가 있습니다.
분류
제목
비데
자동물내림 기능이 무엇인가요?


(1) 자동물내림 기능은 용변 후 사용자가 일어나면 10초 후 양변기의 물내림 버튼을 누르지 않아도 자동으로 물을 내리는 편리하고 위생적인 기능 입니다.


(2) 자동물내림 기능이 있는 모델

① 착탈식 비데: KCB-4200T, KCB-4500T, KCB-4600T

② 도기 일체형 비데: BC-201, BC-201A, BC-202, BC-203A, BC-204, BC-205, BC-205J


(3) 정전시에는 측면 수동 물내림 버튼을 이용하세요.

비데
비데 청소는 어떻게 하나요?

(1) 외관 청소 방법 

① 물에 젖은 부드러운 천으로 외관을 청소하여 주십시오.

② 청소 후에는 부드러운 마른 천으로 물기를 제거하여 주십시오.

③ 주의사항

 



(2) 노즐 청소 방법

① KCB-4100, KCB-4200(T), KCB-4300, KCB-5100, KCB-7000A, KCB-7100(T,TS,TB), KCB-9000(A,E,T,TS,TB) KCB-9100(E,T,TS,TB) 

 

② KCB-4500(G,T,E)

※ 노즐캡 구입은 전국의 대리점 및 판매점에서 구입이 가능하오니 홈페이지에서 가까운 대리점 및 판매점을 확인하시고, 재고가 없는 경우도 있사오니 미리 유선상으로 문의하여 주시길 바랍니다.

 


(3) 노즐클린커버 내부 청소 방법

① KCB-4500(G,T,E)

 


(4) 비데 정수필터 교환 주기

① 정수필터 권장 사용기간은 약 6개월이나 사용량, 수질 상태등 사용환경에 따라 달라질 수 있습니다.

※ 제품 구입은 전국의 대리점 및 판매점에서 구입이 가능하오니 홈페이지에서 가까운 대리점 및 판매점을 확인하시고, 재고가 없는 경우도 있사오니 미리 유선상으로 문의하여 주시길 바랍니다.

비데
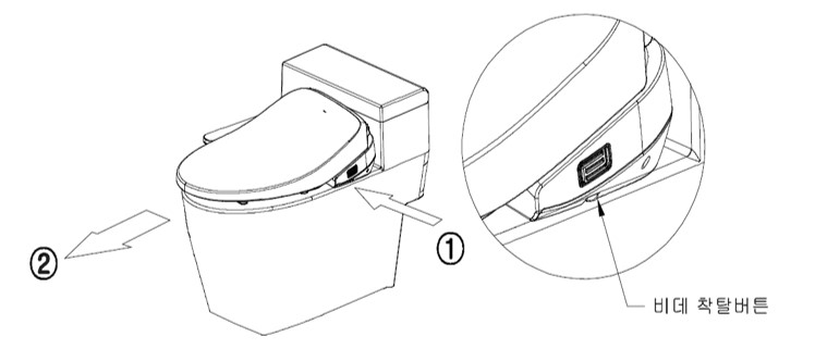
제품 분리를 어떻게 하나요?

(1) 착탈식 비데: 오른쪽 측면 착탈버튼을 누르면서 본체를 앞으로 살짝 잡아 당기시면 분리가 됩니다.

 


(2) 도기 일체형 비데: 앞단 화장 캡, 고정볼트 순서로 분리하시고 측면 화장 캡, 고정 볼트 순서로 분리하시면 됩니다.

 


비데
비데 리모컨의 시간 설정은 어떻게 하나요?

 

비데
RF 송수신 방식 비데의 본체와 리모컨 초기 사용설정은 어떻게 하나요?

(1) 적용모델: KCB-7000A, KCB-9000A, KCB-9000TR 

① 변좌에 앉지 않은 상태에서 비데 본체 간단키의 정지+비데 버튼을 5초간 동시에 눌러서 비데 본체(디스플레이 원도우)의 착좌LED가 "삐익" 소리와 함께 점멸되게 하십시오. 

 

② 20초 이내에 리모컨 뒤면의 절전/탈취 버튼을 누른 상태에서 변좌 버튼을 누릅니다.

비데 본체(디스플레이 원도우)의 착좌LED가 "삐익" 소리와 함께 꺼지는지 확인하십시오.

 

③ 변좌LED가 꺼지면 설정이 완료 되었습니다.


(2) 적용모델: KCB-7100TB, KCB-9000TB, KCB-9100TB

① 변좌에 앉지 않은 상태에서 비데 본체 간단키의 정지+비데 버튼을 5초간 동시에 눌러서 부저음 "삐익" 소리가 난 후

 

② 리모컨의 정지+변좌 버튼을 동시에 누르면 설정이 완료 되었습니다.

 

비데
비데의 자동개폐 기능 설정은 어떻게 하나요?

(1) 적용모델: KCB-7000A, KCB-9000A

 

※ 제품 초기 설치시 또는 변좌모터 및 변좌커버모터 교체시에는 반드시 위와 같은 방법으로 위치 설정을 하여야 합니다.

※ 본체와 리모컨의 RF 송수신 설정 완료 후 자동개폐설정이 가능합니다.

비데
노즐에서 물이 나오지 않아요. 어떻게 하나요?

(1) 단수인지 확인해 주세요.


(2) 앵글밸브가 잠겨있는지 확인해 주세요.  

 


(3) 수도필터(급수 여과망)가 막혀 있는지 확인을 해주시고 막혀 있다면 아래의 방법으로 이물질을 제거하여 주십시요.

① 적용모델: KCB-4100, KCB-4200(S,T), KCB-4300, KCB-5100

 

② 적용모델: KCB4500(E,T,G), KCB-7000A, KCB-7100(T,TR,TS,TB), KCB-9000(A,E,T,TS,TB), KCB-900(E,T,TS,TB)

 


(4) 정수필터가 막혀 있는지 확인을 해주시고 막혀 있다면 교체를 하여 주십시요.

※ 제품 구입은 전국의 대리점 및 판매점에서 구입이 가능하오니 홈페이지에서 가까운 대리점 및 판매점을 확인하시고, 재고가 없는 경우도 있사오니 미리 유선상으로 문의하여 주시길 바랍니다.

※ 만약 해결이 되지 않는다면 점검 받으시길 권해드립니다. 

   고객센터(1566-8625)

비데
비데가 동작이 되지 않을 때 어떻게 하나요?

(1) 전원 플러그가 콘센트에 꽂혀 있는지 확인해 주세요.


(2) 본체 전원이 꺼져 있는지 확인해 주세요.


(3) 리모컨 건전지 상태를 확인해 주세요


(4) 변좌에 앉지 않을 경우 피부 감지 센서가 작동되지 않아 비데는 동작하지 않습니다.

    ① 피부 감지 센서에 피부가 닿도록 앉아 주세요.

    ② 적용모델: KCB-4500(E,T,G)

 


    ③ 적용모델: KCB-4100, KCB-4200(S,T), KCB-4300, KCB-5100,  KCB-7000A, KCB-7100(T,TR,TS,TB), KCB-9000(A,E,T,TS,TB), KCB-900(E,T,TS,TB)

 

비데
수압이 약할 때 어떻게 하나요?

(1) 리모컨 및 수압 조절버튼 설정이 "약"에 있는 확인해 주세요.


(2) 앵글밸브가 완전히 개폐되었는지 확인해 주세요.


(3) 수도필터(급수 여과망)가 막혀 있는지 확인을 해주시고 막혀 있다면 아래의 방법으로 이물질을 제거하여 주십시오.

   ① 적용모델: KCB-4100, KCB-4200(S,T), KCB-4300, KCB-5100


 


   ② 적용모델: KCB4500(E,T,G), KCB-7000A, KCB-7100(T,TR,TS,TB), KCB-9000(A,E,T,TS,TB), KCB-900(E,T,TS,TB)


 


(4) 정수필터가 막혀 있는지 확인을 해주시고 막혀 있다면 교체를 하여 주십시오.


※ 제품 구입은 전국의 대리점 및 판매점에서 구입이 가능하오니

홈페이지에서 가까운 대리점 및 판매점을 확인하시고, 재고가 없는 경우도 있사오니 

미리 유선상으로 문의하여 주시길 바랍니다.


※ 만약 해결이 되지 않는다면 점검 받으시길 권해드립니다. 

    고객센터(1566-8625)

비데
자동 물내림이 안 돼요. 어떻게 하나요?

(1) 변좌에 앉지 않을 경우 피부 감지 센서가 작동되지 않아 비데는 동작하지 않습니다.

    ① 피부 감지 센서에 피부가 닿도록 앉아 주세요.

    ② 적용모델: KCB-4500T


 


    ③ 적용모델: KCB-4200T, KCB-7000A, KCB-7100(T,TR,TS,TB), KCB-9000(A,E,T,TS,TB), KCB-900(E,T,TS,TB)


 


(2) 자동물내림 전용 부속이 제대로 연결되어 있는지 확인해 주세요.

    ① 착탈식비데


 


   ② 도기일체형비데


 


※ 만약 해결이 되지 않는다면 점검 받으시길 권해드립니다. 

    고객센터(1566-8625)